一、论文选题的目的和意义
中国是大枣的原产国,全球98%以上的枣树资源和大枣产品都在中国。据国家林业局统计,我国现有枣树栽培面积已达150万hm2,大枣年产量约260万吨以上,其中河北、山东、山西、河南、映西5省的产量约占全国总产量的91%以上。大枣不但营养丰富,而且在医疗保健方面也有一定的功效,是较好的补品。但由于鲜枣中约含有80%的水分,生理代谢旺盛,采摘后容易腐烂变质,而且新鲜的大枣皮脆,易被机械损伤,造成鲜枣具有不易保存、运输、货架时间短等无法克服的缺点。因此,大枣的深加工显的尤为重要。
干燥是大枣深加工中比较常用的方法,如果采用整枣干燥,不但加工时间长,易褐变、焦化,而且维生素C含量损失较大,破坏了大枣的营养成分。因此,为了提高产品质量,可以采用将大枣进行切片后干燥的方法。这种方法加工时间短,受温度和氧化影响小,大枣的维C含量损失小,口感、色泽和品质都有较大提高。因此,对于大枣深加工而言,去核、切片是大枣深加工中的一项重要工序。
目前,大枣的去核、切片主要采用的是人工去核、切制,或人工去核机器辅助切片。这种方法生产效率低,枣片厚薄不均,劳动强度大,易对操作者造成伤害;由于卫生条件差,使产品质量处于较低水平,难以被海内外市场接受。因此,开发大枣全自动去核切片设备,提高大枣加工的自动化程度,对于提高生产效率和产品质量、降低工人劳动强度、节约能源消耗、降低生产成本等方面具有重要意义。
二、国内外研究现状及发展趋势:
目前,国内很多大枣深加工设备的研究单位已经取得了一些实际成果。中国专利ZL01229251.6-23提出半自动硬枣去核划皮机,但其需手工对大枣排队、上料和去核,生产效率较低。中国专利200610107231.8提出去核机,采用水平转位上料,容易将枣挤扁、压碎,且主要适用于加工半干枣。泊头市博屹机械有限公司生产规格为GJDZQH的大枣去核机,该去核机控制核心由PLC和人机界面组成,其中大枣定位由机械手完成。该设备定位好、去核率高,但产品造价高、结构过于复杂。中国专利200920033989.0提出了一种大枣自动切片机,采用锯齿形动刀机构送料,定刀机构切片。该动刀送料机构为锯齿形刀具,易对枣肉造成损伤,切片造成的破碎率大。
国外 20世纪60 年代就着手研制水果去核机,至 20世纪 80年代初美国、意大利、荷兰等国已相继推出了核桃去核机、橄榄去核机等。去核工序基本上实现了自动化。经过数十年的发展,已日趋完善、成熟。目前,正向着节能型和机电一体化方向发展,以电脑自控作业为主。
美国FMC公司80年代初向市场推出了一种自动转矩式粘核桃去核机。每分钟可加工80个桃子,其生产率约80kg/h左右。如图1所示。该机采用14个小杯对桃子进行定位和输送。每个杯子底部有一带凸起的小转轴所示。小轴在链条带动下始终旋转着,只要杯内桃子的凹部不在小凸起的上方,桃子外圆就会与凸起接触并被其带动旋转着,直到图示正确位置为止。这时,桃子保持直立状态,劈刀将果肉劈成两半后,夹持桃子的两个橡胶夹板相向转动150°,使果肉与桃核分离。该机可以整个加工季节连续工作而不必停机润滑,调节和清洗也十分方便。由于它保持了去核后果肉的完整性,因此比较适合于罐头、果脯和果干加工厂使用.由于该机结构较复杂,成本较高,而国内罐头、果脯等食品均属微利产品,因此,在我国推广起来存在一些难度。

图1冲刺穿透去核理论简图
1-冲针;2-枣核;3-红

图2破碎原理去核简图 1-红枣;2-主动辊;3-从动辊
意大利BERTUZZI公司推出了一种滚子去核机,其原理如图2所示。它适合于离核型桃、杏、李等核果的果肉与果核的分离。图中滚子2心部材料为碳钢,外面覆盖一层弹性适中的橡胶层,辊子3由数个齿状圆盘组成。各盘间有一定间隔,在两辊子上方有一推压装置,当它将物料推入两辊子之间时,物料1在两辊子的挤压下,果肉被挤入齿辊中的齿间间隔,而果核则使滚子2的橡胶层变形而凹入橡胶层中。当转过一定角度后,橡胶的弹性作用使果核脱离滚子2而进入果核收集斗。在辊子下方有一可调的分离装置使肉核有效分离,在齿辊下方还有一个类似梳子的装置将嵌在滚子3齿盘间的果肉梳出,落入果肉收集斗。从而达到核肉分离的目的。它适用于带肉果汁饮料、果浆、果酱、果汁饮料等品种的去核工序,具有生产效率高等特点,有较高的推广价值。
三、研究内容的方案设计及可行性分析
3.1 研究目标及方案设计
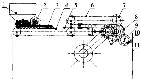
本设计在对国内外相关文献与资料分析和对中国现有去核、切片设备存在问题研究的基础上,综合考虑中国大枣本身结构特点及大枣加工工艺,提出了如图3所示设计方案。
该设备主要由一个传动机构,两对自动上料排序机构、定位夹紧机构、去核机构和切片机构组成。上料排序机构主要由料斗1、辊子3、定向传送链5和毛刷2组成。定位夹紧机构由分别带有辊子3的定向传送链5和夹紧传送链6组成。去核机构主要由曲柄轮22、冲头13组成。其中冲头13部分由插杆27、顶杆28和导向杆30组成。切片机构主要由可调护板8、刀槽式送料轮9和刀片10组成。传动机构主要由减速电机12、主带轮20、锥齿轮19、槽轮机构14、增速齿轮传动15、主动轴21、从动轴25构成。如图3减速电机12将动力传送给主皮带轮20、锥齿轮19、槽轮机构14、增速齿轮传动15等传动机构,传动机构又将动力分别传递给上料排序机构、定位夹紧机构、去核机构和切片机构。槽轮机构14的间歇运动,带动上料、夹紧、切片三大机构实现间歇式运动。


1.料斗2.毛刷3.辊子4.摩擦板5.定向传送链6.夹紧传送链7.链轮8.可调护板9.刀槽式送料轮10.刀片11.机架12.减速电机13.冲头14.槽轮机构15.增速齿轮传动16.传动链齿轮17.送料轴18.送料轴齿轮19.锥齿轮20.主带传动21.主动轴22.曲柄轮23.中间轴24.毛刷轴25.从动轴26.带传动
图3 机构运动简图
其主要工作过程:大枣由料斗1上料,经毛刷2成单排排列,位于两辊子3间;辊子在摩擦板4作用下,产生自转,并带动大枣一同旋转使大枣轴线与辊子轴线一致,实现大枣自动定向排序;重叠枣则被毛刷2扫回料斗1重新排序。然后大枣由定位夹紧机构的辊子3定位夹紧。在传送链停歇间歇,去核机构的插杆27由曲柄轮22带动冲核,再由固定于导向杆30上的顶杆28将枣核顶出,实现枣与核的分离并保证果肉尽可能完整。去核后枣在可调护板8和辊子3夹持下输送到刀槽式送料轮9完成快速横向切片,并保证切片薄厚均匀,造碎率不大于5%。
3.2 可行性分析
本设计采用滚链式输送,完成大枣的定向和输送,即大枣沿轴线水平放置,相互平行进料;滚子上部的毛刷只能让一排枣通过:滚子下部的摩擦板可实现滚子的自转;枣去核时的定位、夹紧由两排链4个滚子完成,为冲头去核提供条件;输送、去核、切片由一台电机驱动,同步性好,去核机构采用对心曲柄滑块机构;去核的大枣移动到传送链末端后,通过可调护板引导大枣下移到一个刀槽式的送料轮,由刀片进行切片,形成一个个同心环状片,实现了定向、去核、切片的一体化。
四、研究方法及技术路线
4.1 研究方法
1)利用学校图书馆及互联网查阅大量资料,了解红枣的基本性质,受力分析、原理等,了解各种类型的去核机的特点。
2)关键问题可请求老师指导或通过同学讨论。
3)利用AutoCAD, Soliwork等绘图软件绘制出红枣去核切片机的零件图,装配图和三维图,反复对设计内容进行检验、校核。
4.2 技术路线
1)针对大枣精深加工过程劳动强度大、自动化程度低、造碎率大等技术难题,设计双排滚链式大枣去核切片集成设备方案,可一次性完成大枣自动定向排序、夹紧、去核、切片等工序。
2)采用槽轮机构实现间歇上料、夹紧、切片。
3)采用定向传送链、毛刷、摩擦板相互作用实现定向排序。
4)采用两排平行放置的链实现定位夹紧。
5)采用对心曲柄滑块机构实现去核。
6)采用刀具固定,刀槽式送料轮旋转实现切片。
五、预期进展
第一阶段(2019年12月5日-2020年1月30日)材料的搜集整理、查阅相关资料、方案确定
本阶段需要完成与课题相关的调研工作,并对相关的文章进行搜集、整理,选出与设计有关的资料备用,并且找出自己设计的产品与国内外的不同之处,说明其优点所在,拟定设计草图,选出最佳方案。
第二阶段(2020年2月1日-2020年4月31日)方案设计,总体结构设计,设计计算、装配图绘制
第三阶段 (2020年5月1日-2020年5月30) 完成装配图及零部件图绘制、撰写设计说明书、毕业设计答辩
本阶段主要完成与方案相符合的文章的撰写,包括目录、摘要、前言、设计步骤、内容、参考文献、附件(任务书、开题报告、中期检查表)等,完成毕业设计答辩及总结。
六、预期结论
(1)本设计方案成功实现了去核、切片动作的集成,自动化程度高。其自动排序、去核、切片性能良好,切片厚度均匀。
(2)本设计仅适用于长圆形枣。加工前,最好将大枣按大小提前分级,再根据枣大小调节托板与护板位置,确保去核、切片效果。
(3)本方案预计生产率可达200kg/h,与现有先去核再切片设备相比优势明显。
七、参考文献
[1] 王群,邵长发.水果去核(去芯)机械的现状与发展前景[J].包装与食品机械,1993,11(3):24-27.
[2] 周静博,张淑娟,孙海霞,等.我国红枣去核机研究现状与发展分析[J].山西农业科学,2014,42(2): 199-202.
[3] 成龙.红枣去核机 [J] 技术装备, 2008 (7): 38-39 .
[4] 彭三河.大枣去核装置的设计[J].包装食品机械, 2005, 24(4): 21-22 .
[5] 陈小帅.红枣加工机械化初探[J].农业技术装备,2008, 42(2): 42-43.
[6] 梁睦.转盘式红枣自动去核专用设备[J].轻工机械, 2008, 26(4): 35-37.
[7]Mohammad N.M.AdAdsorption mechanisms of removing heavy metals and dyes from aqueous solution using date pits solid adsorbent[J].Journal of Hazardous Materials,2009,176(1):510-520.
[8] 闫天翔,赵建国.履带式大枣自动去核机[J].轻工机械,2009,27(6):74-78.
[9] 李恩山,范钢娟.国内外核果类水果去核机的现状[J].食品与机械,1994,6(44):8-10.
[10] 赵文, 贺加怀.浅析红枣产业的发展前景[J].防护林科技,2007,5(80):79-80.
[11]张鹏霞,党凯锋,于北京大枣自动切片机:中国,200920033989.0[P2010-08-25.
[12宁铎,杨鲜鲜,黄建兵红枣取核及切片集成装置:中国,2010101332665[P].2010-07-07.
[13]王洪友.大枣加工工艺及设备的应用研究[J.农产品加工・创新版,2010(11):66~682
[14]许牡丹,刘红梅,曾令军,等.高Vc香酥枣片的生产工艺[J].食品研究与开发,2010,31(4):65~673.
[15]梁睦,神会存,张雪松种红枣自动去核机:中国200610107231.8[P】.2007-03-285王小爱.红枣去核机的开发与研究[D].陕西:陕西科技大学.
|
指导教师意见:
|
|
指导教师:
年 月 日
|
|
所在专业审查意见:
负责人:
年 月 日
|