基于停车收费管理系统的自动化测试框架设计与实施
专业:软件工程
摘要:在信息技术迅猛发展的今天,Web 端系统如停车收费管理系统等日益普及,深入渗透到日常生活各领域,其质量把控高度依赖于高效精确的软件测试。然而, 随着系统规模扩大和技术复杂度增加,传统手工测试方法由于成本高、效率低下已无法应对现实挑战,自动化测试技术因此崭露头角并迅速普及。尤其是自动化测试框架, 凭借其能显著提升测试效率、降低成本及易于维护的特点,成为了现代软件质量保障的重要支撑。
本文围绕自动化测试框架的设计与应用,首章综述了自动化测试的国内外研究背景、重要意义及相关主流研究内容,同时深入解析了构建自动化测试框架所需的关键技术与工具,比较了不同自动化测试框架的设计理念、特性及优缺点。接下来,以停车收费管理系统为例,通过采用 PO 模式的自动化测试框架,对系统核心页面进行精细分析与元素封装,解析核心业务流程,精心设计并实现了一系列测试用例。利用该框架自动化执行用户操作,验证系统功能和性能,实验结果证明该框架可以缩短测试周期,提升测试效率,也为同类 Web 系统自动化测试工作的优化提供了宝贵的参考案例。
关键词: 自动化测试框架;web 系统;PO 模式
Design and Implementation of Automated Testing Framework Based on Parking Fee Management System
Major: Software Engineering
Abstract: With the rapid development of information technology, Web-based systems such as parking fee management systems are becoming increasingly popular and penetrating into various areas of daily life. The quality control of these systems heavily relies on efficient and precise software testing. However, as the system scale expands and technical complexity increases, traditional manual testing methods have become unable to cope with the real challenges due to their high costs and low efficiency. Therefore, automated testing technology has emerged and quickly gained popularity. In particular, automated testing frameworks have become an important support for modern software quality assurance due to their ability to significantly improve testing efficiency, reduce costs, and ease of
maintenance.。
This article focuses on the design and application of automated testing frameworks. The first chapter summarizes the research background, significance, and main research contents of automated testing at home and abroad. It also deeply analyzes the key technologies and tools required for building automated testing frameworks, comparing the design philosophies, characteristics, advantages, and disadvantages of different automated testing frameworks. Next, taking the parking fee management system as an example, the article carefully analyzes and encapsulates the core pages of the system using the PO model-based automated testing framework. It analyzes the core business processes and carefully designs and implements a series of test cases. The framework is used to automate user operations, verify system functionality and performance. Experimental results prove that the framework can shorten the testing cycle, improve testing efficiency, and provide a valuable reference case for the optimization of automated testing work for similar Web systems。
Key Words: Automated testing framework; Web System; PO Model
1 绪论 1
1.1 研究背景和意义 1
1.2 国内外研究现状 1
1.3 主要研究内容 3
1.4 论文的章节安排 4
2 自动化测试相关技术介绍 5
2.1 软件测试概要 5
2.2 自动化测试相关技术 5
2.3 自动化测试框架相关工具 6
2.3.1 Selenium 6
2.3.2 Unittest 7
2.3.3 Pytest 7
2.4 本章小结 8
3 PO 模式的测试框架 9
3.1 什么是自动化框架 9
3.2 自动化框架对比 9
3.3 基于 PO 模式的自动化框架 10
3.3.1 poium 库介绍 11
3.3.2 PO 模式的分层介绍 13
3.4 本章小结 17
4 测试框架的应用实例 18
4.1 被测系统的需求分析 18
4.1.1 被测系统的基础方法封装 20
4.2 页面层的应用实现 22
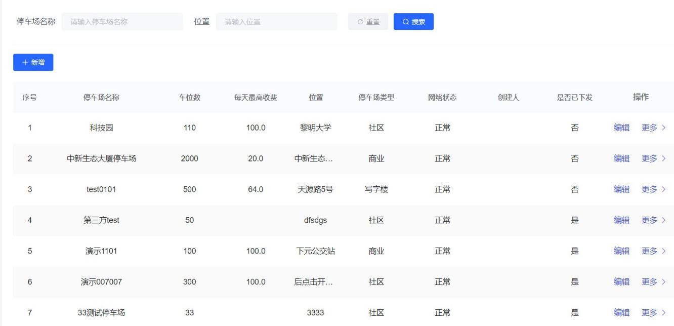
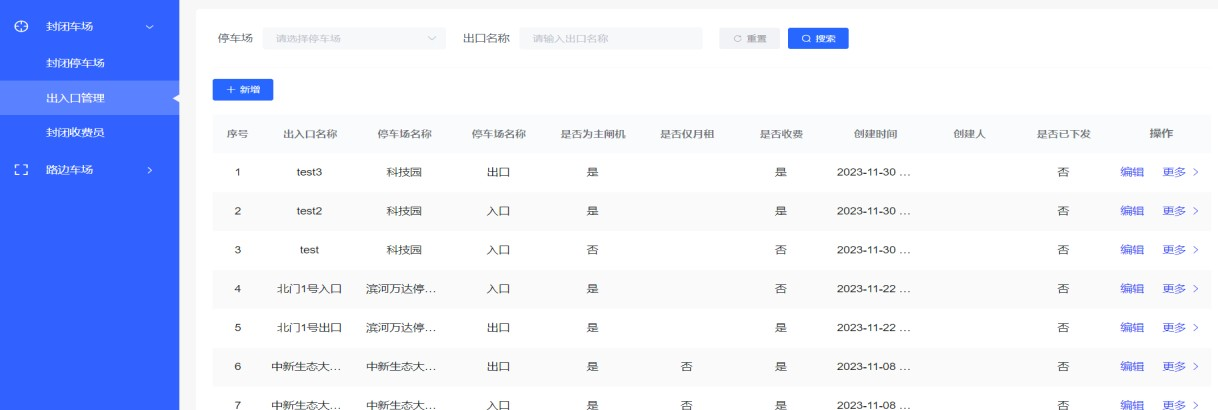
4.2.1 被测系统页面分析 22
4.2.2 页面层设计 28
4.2.3 页面层实现 32
4.3 业务层的应用实现 37
4.3.1 被测系统的业务流程分析 37
4.3.2 业务层设计 39
4.3.3 业务层实现 43
4.4 本章小结 62
5 测试执行及结果分析 63
5.1 自动化测试配置 63
5.2 自动化测试报告生成 71
5.3 测试结果分析 75
5.4 功能缺陷报告 76
5.5 本章小结 77
参考文献 79
致谢 80































