设计 任务书 文档 开题 答辩 说明书 格式 模板 外文 翻译 范文 资料 作品 文献 课程 实习 指导 调研 下载 网络教育 计算机 网站 网页 小程序 商城 购物 订餐 电影 安卓 Android Html Html5 SSM SSH Python 爬虫 大数据 管理系统 图书 校园网 考试 选题 网络安全 推荐系统 机械 模具 夹具 自动化 数控 车床 汽车 故障 诊断 电机 建模 机械手 去壳机 千斤顶 变速器 减速器 图纸 电气 变电站 电子 Stm32 单片机 物联网 监控 密码锁 Plc 组态 控制 智能 Matlab 土木 建筑 结构 框架 教学楼 住宅楼 造价 施工 办公楼 给水 排水 桥梁 刚构桥 水利 重力坝 水库 采矿 环境 化工 固废 工厂 视觉传达 室内设计 产品设计 电子商务 物流 盈利 案例 分析 评估 报告 营销 报销 会计
 首 页 机械毕业设计 电子电气毕业设计 计算机毕业设计 土木工程毕业设计 视觉传达毕业设计 理工论文 文科论文 毕设资料 帮助中心 设计流程 
垫片
您现在所在的位置:首页 >>计算机毕业设计 >> 文章内容
                 
垫片
   我们提供全套毕业设计和毕业论文服务,联系微信号:biyezuopinvvp QQ:1015083682   
基于Spring Boot的驾校管理系统的设计与实现 论文终稿+论文初稿+审批表+任务书+开题报告+进展进度及答辩记录表+维普检测查重报告
文章来源:www.biyezuopin.vip   发布者:毕业作品网站  

摘        要

随着经济的快速发展和驾照需求的增加,传统驾校管理系统面临着信息化水平低、人工操作失误及效率低下等问题,本研究提出并开发了一套基于Spring Boot后端框架与Vue.js前端框架的驾校综合管理系统。可提高管理效率,优化资源配置,并加强对驾校各项事务的管理。本项目致力于开发一个驾校管理系统,该系统采用前后端分离的架构设计,主要涵盖学员管理、教练管理、教练排班、课程预约、考试成绩、考试安排和财报统计等功能模块,并通过角色权限控制实现安全管理。重点解决了教练排班中场地与车辆的排程冲突问题。本论文全面阐述系统的需求分析过程、架构设计思路以及关键功能模块。系统设计时充分考虑了扩展性与安全性,旨在为后续的功能拓展奠定一个稳固的基础。总体而言,所提出的系统有效推动了驾校行业的信息化建设,提升了管理效率与用户满意度。

关键词:驾校管理系统;课程预约Spring Boot;Vue.js;MyBatis


Abstract

With the rapid economic development and increasing demand for driver's licenses, traditional driving school management systems face challenges such as low informatization levels, human operational errors, and inefficiency. This study proposes and develops a comprehensive driving school management system based on the Spring Boot backend framework and Vue.js frontend framework. The system aims to improve management efficiency, optimize resource allocation, and enhance the administration of various driving school operations. The project adopts a frontend-backend separated architecture, covering key functional modules including student management, coach management, scheduling, course booking, exam results, exam arrangements, and financial reporting. Role-based access control is implemented to ensure security. A major focus is resolving scheduling conflicts between coaches, training venues, and vehicles. This paper elaborates on the system's requirements analysis, architectural design, and core functional modules. The design emphasizes scalability and security, laying a solid foundation for future expansions. Overall, the proposed system effectively advances informatization in the driving school industry, improving both operational efficiency and user satisfaction.

Keywords: Driving school management system; Course subscribion; Spring Boot; Vue.js; MyBatis; MySQL


目        录

1 前言

1.1 研究目的与意义

1.2 国内外研究概况

1.3 主要研究内容

1.4 论文结构

2 可行性分析

2.1 技术可行性分析

2.2 经济可行性分析

2.3 操作可行性分析

2.4 法律可行性分析

3 需求分析

3.1 系统功能需求分析

3.1.1 管理员端需求分析

3.1.2 教练端需求分析

3.1.3 学员端需求分析

3.2 系统非功能需求分析

3.3 业务流程分析

4 概要设计

4.1 系统结构设计

4.2 系统功能模块设计

4.2.1 管理员端

4.2.2 教练端

4.2.3 学员端

4.3 数据库设计

4.3.1 数据库设计原则

4.3.2 系统E-R图

4.3.3 数据库表设计

5 详细设计

5.1 管理员端详细设计

5.1.1 教练管理模块

5.1.2 统计管理模块

5.1.3 学员管理模块

5.1.4 用户管理模块

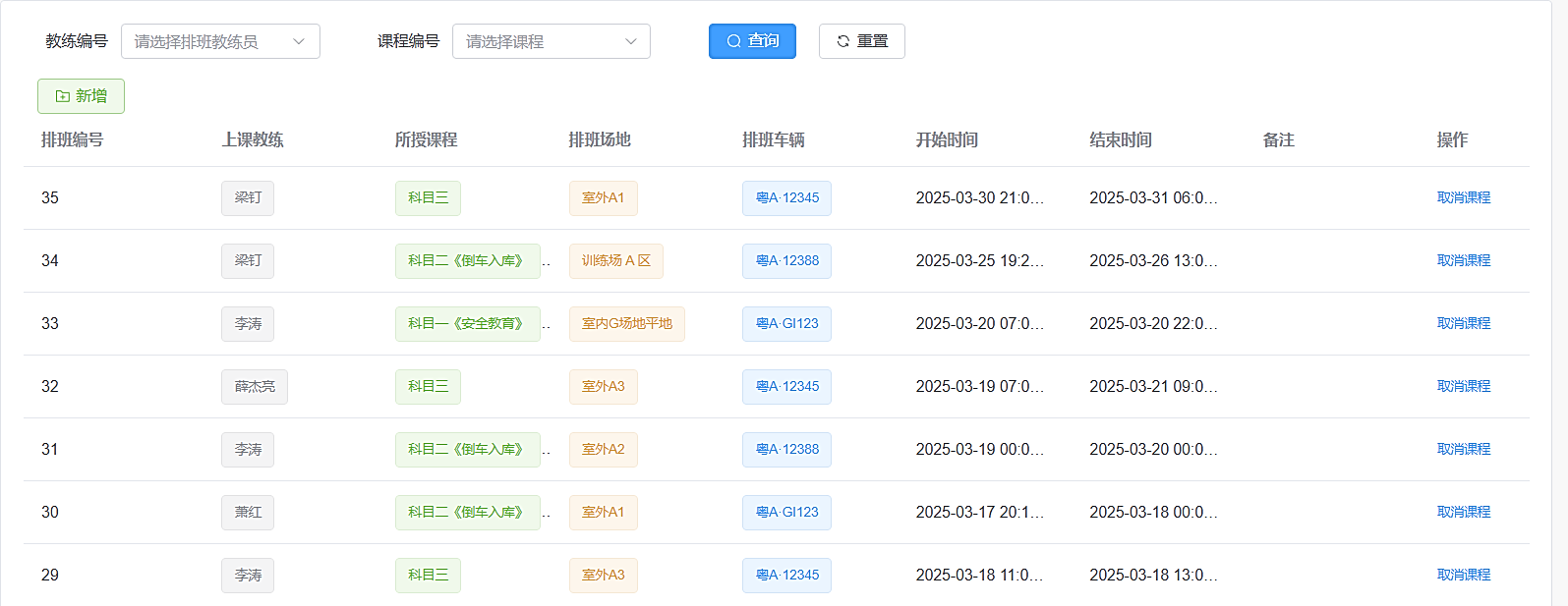
5.1.5 教练排班模块

5.1.6 维修记录

5.1.7 课程管理模块

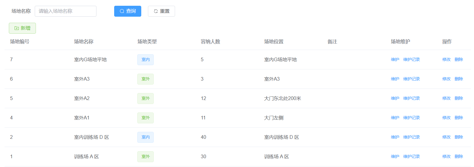
5.1.8 场地管理模块

5.1.9 考试安排

5.1.10 缴费记录

5.1.11 车辆管理

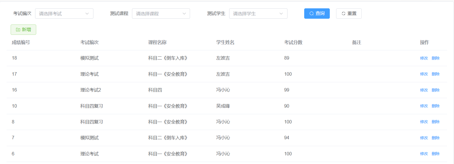
5.1.12 考试成绩

5.2 学员端详细设计

5.2.1 课程预约模块

6 系统实现

6.1 系统开发技术

6.2 功能实现

6.2.1 管理端实现

6.2.2 教练端功能实现

6.2.3 学员功能实现

7 总结

参考文献

致谢
























  全套毕业设计论文现成成品资料请咨询微信号:biyezuopinvvp QQ:1015083682     返回首页 如转载请注明来源于www.biyezuopin.vip  

                 

打印本页 | 关闭窗口
  下一篇文章:暂时没有
本类最新文章
基于Spring Boot的驾校 基于Spring Boot的高校 基于Spring Boot的校园
基于Spring Boot的非遗 基于Spring Boot的社区 基于Spring Boot的蛋糕
| 关于我们 | 友情链接 | 毕业设计招聘 |

Email:biyeshejiba@163.com 微信号:biyezuopinvvp QQ:1015083682  
本站毕业设计毕业论文资料均属原创者所有,仅供学习交流之用,请勿转载并做其他非法用途.如有侵犯您的版权有损您的利益,请联系我们会立即改正或删除有关内容!